原标题:《狂飙》带火了强盛集团,法人竟是孙红雷?回应:纯属巧合
近日,热播剧《狂飙》中的强盛集团引起网友关注,有网友发现,现实中的强盛集团法人为孙红雷。
对此,山东强盛集团工作人员回应称,网友的发现属于巧合,我方法人孙红雷与演员孙红雷不是同一人。




企查查APP显示,山东强盛集团有限公司成立于2020年1月,曾用名为山东强盛房地产开发有限公司,大股东为孙红雷,持股99%。
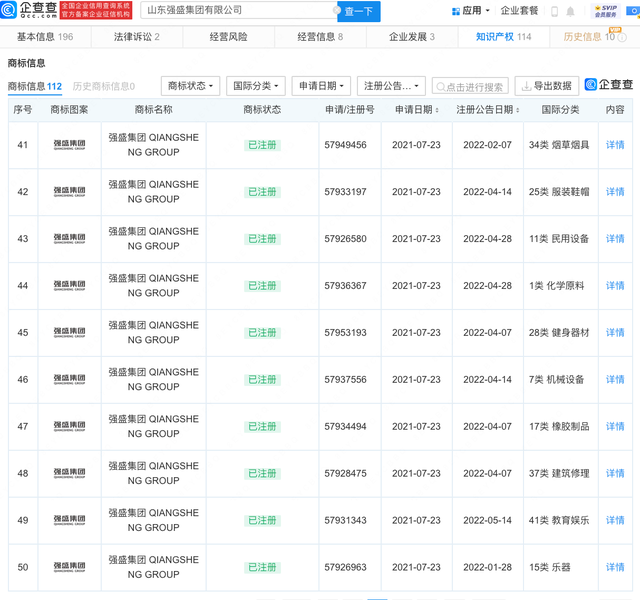
知识产权信息显示,目前,该公司已成功注册多枚“强盛集团”商标。
原标题:《狂飙》带火了强盛集团,法人竟是孙红雷?回应:纯属巧合
近日,热播剧《狂飙》中的强盛集团引起网友关注,有网友发现,现实中的强盛集团法人为孙红雷。
对此,山东强盛集团工作人员回应称,网友的发现属于巧合,我方法人孙红雷与演员孙红雷不是同一人。




企查查APP显示,山东强盛集团有限公司成立于2020年1月,曾用名为山东强盛房地产开发有限公司,大股东为孙红雷,持股99%。
知识产权信息显示,目前,该公司已成功注册多枚“强盛集团”商标。